没有想过,有一天,你脚上的鞋子能变成一个超级智能的终端?不仅能保护你的脚,还能给你带来超多惊喜!今天就来给大家唠唠,智能鞋到底有多厉害!
智能鞋到底是什么?
What exactly is a smart shoe?
简单来说,智能鞋就是把各种高科技(传感器、芯片、通信模块)塞进鞋子里,让它变得超厉害!它不仅能让你走得舒服,还能感知你的动作、周围的环境,甚至能和手机、云端“聊天”。听起来是不是很酷?这就相当于给你的脚丫子配了个“超级大脑”,让它能主动帮你干好多事儿。
智能鞋的超能力大揭秘!
Let's Reveal the Superpowers of Smart Shoes!
1.感知与连接:鞋子也能“长眼睛”“联网冲浪”!
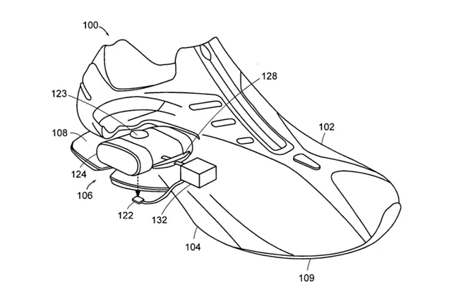
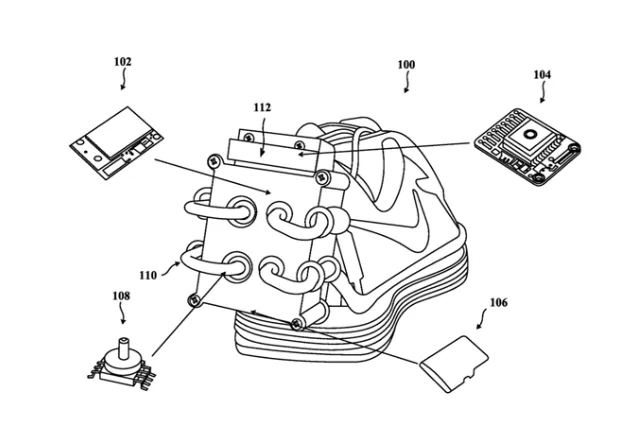
智能鞋就像有了超能力,能感知你的脚怎么踩、步子迈得怎么样,还能知道外面的环境。比如,压力传感器能知道你脚底的压力分布,是不是走路姿势不对;温度传感器能感知鞋里冷不冷,帮你调节温度。要是你在外面迷路了,GPS定位功能还能让家人找到你,简直太安心了!
而且,智能鞋还能联网,把数据传到手机上,或者从云端接收指令。比如,运动数据能实时同步到手机APP,让你随时知道自己走了多少步、消耗了多少卡路里。
2.智能处理与响应:鞋子也能“思考”“行动”!
智能鞋的“大脑”(微处理器)会分析这些数据,然后做出反应。比如,它能根据你的运动状态自动调整鞋底的软硬度,让你跑步时更有弹性,走路时更舒服。要是检测到你快撞到东西了,它还能通过震动或者声音提醒你,简直像个贴心的“小保镖”!
3.人机交互创新:鞋子也能“和你聊天”!
智能鞋还能和你互动。比如,鞋面上的LED灯可以显示不同的颜色,告诉你电量多少,或者提醒你该运动了。有些鞋子还能通过脚底识别,防止你穿错鞋,这细节简直太贴心了!
智能鞋能帮我们干什么?
What can smart shoes do for us?
1.夜间出行再也不怕啦!
晚上出门是不是特别担心安全问题?智能鞋的LED照明功能可以照亮你的前方,还能让你在车流中更显眼。
要是有车靠近,碰撞预警功能还能提醒你,这安全感直接拉满!
这双鞋就像有个“雷达”,能感知周围的障碍物。比如,当你在马路上走路时,它能提前发现靠近的车辆,然后通过鞋底的震动或者鞋面上的灯闪烁提醒你。鞋底有个小传感器,专门用来探测周围的物体,是不是超厉害?
2.智能鞋就是你的“私人医生”!
智能鞋可以为你按摩脚部,缓解疲劳,简直太舒服了!
它还能实时监测你的健康数据,比如步态、足底压力、活动量,还能把这些数据传给医生。要是你有糖尿病等慢性病,它还能帮你管理病情,提醒你运动。
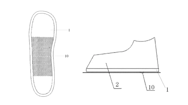
这双鞋就像个“健康小管家”,鞋垫里有好多传感器,能精准测量你脚底的压力分布。比如,你走路姿势不对,它能马上发现并提醒你。还能统计你走了多少步、消耗了多少卡路里,甚至能监测你的心率。
3.鞋子也能“读懂你的心”!
智能鞋可以根据你的运动状态自动调整,让你的每一步都超级舒服。
这双鞋就像有“魔法”,能根据你的运动自动调整鞋底的软硬。比如,你跑步时,鞋底会变得更弹,减少脚部的冲击;你走路时,鞋底会变得更软,让你感觉更舒服。鞋底有个可调节的装置,这就是它的秘密武器!
而且,它还能根据天气自动调节温度,让你的脚永远暖暖的。
4.盲人朋友也能轻松出行!
对于盲人朋友来说,智能鞋简直就是“神器”。它可以通过震动或声音提醒他们是否偏离了盲道,让他们出行更安全、更方便。
这双鞋就像有个“导航仪”,鞋底的传感器能感知盲道的纹理。比如,当你偏离盲道时,鞋子会通过震动或者发出声音提醒你。鞋底有个特殊的传感器区域,专门用来识别盲道,超贴心!
5.鞋子也能“秀出你的个性”!
智能鞋还能通过鞋面的显示屏显示各种图案,比如你的名字、喜欢的动漫角色,或者有趣的动画。出门的时候,你就是最靓的仔!
这双鞋的鞋面有个小小的显示屏,你可以通过手机APP上传自己喜欢的图案或者文字。比如,你可以把你的名字、星座或者喜欢的动漫角色显示在鞋面上,超酷炫!
智能鞋 未来可期
Smart Shoes: The Future is Promising!
智能鞋的未来可不止这些!它会越来越智能,比如提前预测你的需求,自动调整;还能和医疗系统直接连接,实时监测健康;甚至能和AR技术结合,让你在行走中看到虚拟信息。而且,未来的智能鞋还会更轻便、更耐用,甚至可以根据你的脚型定制,完美贴合你的脚。
智能化技术让鞋子从被动的保护者变成了主动的服务者。随着技术的不断进步,未来的智能鞋一定会带来更多惊喜,改变我们的生活!那么你最想推出哪个功能的智能鞋!欢迎评论区找老贾互动聊聊你的看法。
专利,是你的“护盾”
Patents: Your "Shield"!
不管推出哪个功能的智能鞋,都需要建立牢固的专利壁垒,捍卫自己的创新优势,避免陷入疯狂的价格战内卷中,成为他人成功的嫁衣。而所建立的专利壁垒是否确定有效,需要有别于现有从技术出发、从自我出发的做法,改为从需求出发,从用户出发的方式,精心打造竞争对手抄袭的专利。
智能鞋的未来充满了无限可能,而专利就是你在这条路上的“护盾”。别让竞争对手轻易“抄作业”,精心布局你的专利,让创新成为你的核心竞争力!

