原创:@债之我见
合作请联系微信:zhaijian868
进一步了解城投风险、尽调方法:www.bilibili.com
均和集团爆雷背后:一场与城投共舞的贸易游戏终局
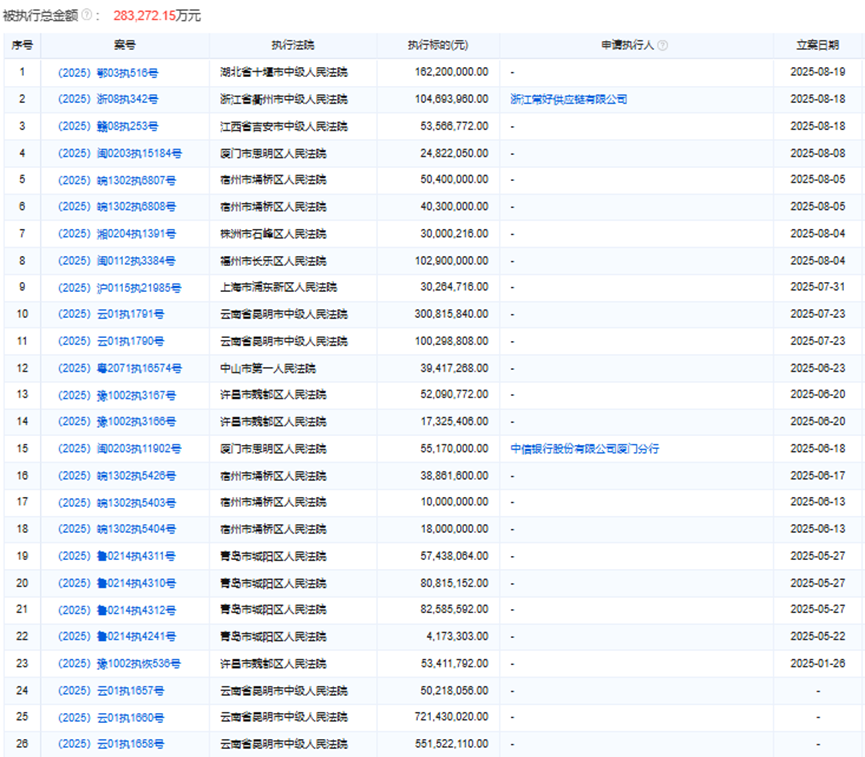
2025年8月21日,衢州市中级人民法院的一纸限制消费令,如同最后一根稻草,压向了曾经的"千亿民企巨头"——上海均和集团有限公司(下称“均和集团”)。 这家昔日跻身中国民营企业500强第66位的商业帝国,如今与它的法定代表人一同被列入限制高消费名单,标志着其辉煌时代的彻底落幕。
均和集团爆雷背后:一场与城投共舞的千亿贸易游戏终局
2025年8月21日,衢州市中级人民法院的一纸限制消费令,如同最后一根稻草,压向了曾经的"千亿民企巨头"——上海均和集团有限公司(下称“均和集团”)。 这家昔日跻身中国民营企业500强第66位的商业帝国,如今与它的法定代表人一同被列入限制高消费名单,标志着其辉煌时代的彻底落幕。

二、隐秘的“均和模式”:与城投合资的贸易游戏
均和集团为何会陷入如此困境?其背后广泛运用的“与城投公司合资”商业模式,或许埋下了重要伏笔。
调查发现,均和集团旗下在营的上百家对外投资企业中,存在大量与地方城投公司合资成立的贸易公司。这类公司通常采用城投持股51%并合并报表,均和持股49%负责日常经营的经典模式。
这并非简单的合作。业内周知,部分城投公司开展贸易业务的核心目的,并非赚取利润,而是为了做大营收和资产规模,优化财务报表,为发债融资铺路。这类业务常常伴随一些异常特征:上下游购销合同同日签订、没有真实货物流转、仅在仓库内进行账面操作……
均和集团的合作网络遍布全国,山东、山西、四川、福建等地多家发债城投公司均与其有关联,其中山东省多达7家。
这些城投公司的贸易业务收入占比普遍超过50%,依托均和集团的平台开展业务,销售品种多为电解铜等标准化程度较高、易于交易变现的商品。
以下为通过公开信息查询的,与均和集团合作的城投公司。
- 潍坊城投:潍坊市城市建设发展投资集团有限公司(以下简称“潍坊城投”)是潍坊市国资委控股的市级城投公司。2024年收入137亿,其中贸易收入115亿,占比84%,毛利率仅0.5%-0.6%。潍坊城投贸易业务主要通过与均和集团合资的潍坊市城投均和国际贸易有限公司开展业务,商品品种以电解铜为主,同时涉及铝、锌等有色金属,采用全额法确认收入。
- 南昌红谷滩城投:南昌市红谷滩城市投资集团有限公司(以下简称“红谷滩城投”)是南昌市红谷滩区政府控股的城投公司,是当地唯一的发债城投。2020年,红谷滩城投和上海均和共同成立南昌红投均和国际贸易有限公司,目前主要贸易品种为电解铜。红谷滩城投近三年商品销售业务约60亿元,占比约60%,毛利率约1%。
- 江苏世纪新城投资:江苏世纪新城投资控股集团有限公司(以下简称“江苏新城投资”)是盐城市政府控股的城投公司。子公司江苏世纪均和国际贸易有限公司成立于2019年,均和控股持股49%,公司主要负责江苏新城投资商品销售板块的经营,产品包括电解铜、钢材、实心桩、设备等。
- 晋城国资:晋城市国有资本投资运营有限公司(以下简称“晋城国资”)是晋城市国资委控股的市级城投公司,子公司晋城国投钧泽供应链管理有限公司是贸易业务板块的主要经营主体,均和控股持股49%。近三年,晋城国资贸易业务收入约60亿元,占比约25%,毛利率约2%。
三、监管利剑出鞘:贸易乱象遭遇最强整顿
这场游戏的终结并非偶然。
2023年6月,国务院国资委重磅发布《关于规范中央企业贸易管理严禁各类虚假贸易的通知》(即“74号文”),明确列出贸易业务“十不准”,剑指融资性贸易、空转/走单贸易、循环贸易等各类虚假贸易行为。
“十不准”包括:不准开展融资性贸易、不准开展空转走单贸易、不准开展无商业实质的循环贸易...每一条都直指均和模式的核心问题。
“74号文”发布后,随之而来的是监管的全面收紧。2024-2025年,共5家债券发行人因贸易业务违规受到证监局、交易所的处罚。
1、上海实业
2024年4月,上海证监局出具《关于对上海实业发展股份有限公司行政处罚决定书》,指出上海实业发展股份有限公司(以下简称“上实发展”)2016年至2021年年度报告存在虚假记载。2016年至2021年度,上实发展控股子公司上实龙创时任董事长曹文龙,组织、授意、默许相关人员通过虚构合同、虚增业务实施进度、实施空转自循环贸易以及参与军民融合贸易等方式虚增上实龙创2016年至2021年度收入、利润,导致上实发展2016年至2021年度财务报表存在虚假记载,合计虚增收入47.22亿元、虚增利润总额6.14亿元。
上海证监局因虚假贸易对上实发展给予警告,并处以600万元罚款。对时任法定代表人、董事长及其他管理人员予以警告及罚款的处罚。
2、厦门建发
2024年4月,厦门证监局出具《关于对厦门建发股份有限公司采取出具警示函措施的决定》,指出其供应链业务中个别品种如氢氧化钴、电缆等贸易业务采用总额法确认收入依据不充分。
3、中泰化学
2024年5月,新疆证监局对新疆中泰化学股份有限公司(以下简称“中泰化学”)出具《行政处罚决定书》,中泰化学及其控制的新疆蓝天石油化学物流有限责任公司、新疆天通现代物流有限责任公司、青岛齐泰科技有限公司及中泰大佑物宇(上海)国际物流有限公司等子公司通过将不具有控制权或实为代理人的业务按照总额法核算,2022年合计虚增收入42.8亿元、虚增成本42.5亿元,分别其营业总收入及营业总成本的7.60%及7.75%。
新疆证监局对中泰化学责令改正,给予警告,并处罚款;对时任财务总监及其他责任人员给予警告并处罚款。同时,新疆证监局对中泰化学公司债券的主承销商五矿证券和申万宏源证券采取出具警示函的监督管理措施。
4、株洲新芦淞
2025年4月,上海证券交易所出具《关于对株洲新芦淞产业发展集团有限公司及有关责任人予以通报批评的决定》,株洲新芦淞产业发展集团有限公司(以下简称“株洲新芦淞”)于2024年3月28日向上海证券交易所申报私募公司债券项目。此后,株洲新芦淞经重新论证,提交说明文件称,因电解铜贸易商业合理性不够充分,拟剔除2023年电解铜贸易收入7.34亿元;同时,将“融易通”业务认定为平台服务收入,将“融易通”平台产生的贸易价差和平台服务费,合并计入平台服务收入,分别调减2022年、2023年营业收入8.89亿元、4.20亿元。上述更正后,发行人2022年、2023年营业收入分别调减8.89亿元、11.99亿元,分别占调整前相应金额的39.55%、51.06%。
上海证券交易所对株洲新芦淞及时任董事长、总经理和财务负责人等高级管理人员予以通报批评并记入中国证监会诚信档案。
5、泰州城投
2025年4月15日,泰州市城市建设投资集团有限公司(以下简称“泰州城投”)发行人披露《关于公司债券2021-2023年年度报告以及2021-2024年中期报告更正的公告》,称因前期会计差错事项、适用《企业会计准则解释第16号》等原因,对前期营业总收入、营业总成本、资产总计、负债总计、净利润等财务报表科目进行了更正,同时相应更正商品销售和贸易业务的收入、成本及毛利率等。其中,2023年年度报告和2024年中期报告的营业总收入分别由94.27亿、39.87亿元更正为64.89亿元、25.42亿元,变动比例分别为31.16%、36.24%。
上海证券交易所对泰州城投予以书面警示。
四、尾声:游戏结束后的思考
均和集团的爆雷不仅是一家企业的兴衰故事,更揭示了依赖虚假贸易做大规模的商业模式的脆弱性。在监管趋严的背景下,那些依然沉迷于"数字游戏"的企业和城投平台,或许该重新思考发展的本质。
真正的商业价值来自于创造真实的价值,而非财务技巧的堆砌。均和集团的倒下,为整个行业敲响了警钟:任何背离商业本质的扩张,终将面临清算的一天。

